nikkos
Uploaded by
58 SLIDES
816 VIEWS
580LIKES

ECSS Software Process M odel

DESCRIPTION

Reference Process Model Diagrams ECSS-PMod Project. ECSS Software Process M odel. Root Up Down Last Parent. Actions. Activity : Software Life Cycle Processes DIAG #50. Parent : None. Perspective : ALL.

1 / 58

Download Presentation

ECSS Software Process M odel

An Image/Link below is provided (as is) to download presentation Download Policy: Content on the Website is provided to you AS IS for your information and personal use and may not be sold / licensed / shared on other websites without getting consent from its author. Content is provided to you AS IS for your information and personal use only. Download presentation by click this link. While downloading, if for some reason you are not able to download a presentation, the publisher may have deleted the file from their server. During download, if you can't get a presentation, the file might be deleted by the publisher.

E N D

Presentation Transcript

Playing audio...

  1. Reference Process Model Diagrams ECSS-PMod Project ECSS Software Process M odel Root Up Down Last Parent Actions

  2. Activity: Software Life Cycle Processes DIAG #50 Parent: None Perspective: ALL ECSS Software Life Cycle Processes Primary Life Cycle Processes LC-1 E-40 ECSS Software Artifacts: DJF, DDF, TS, RB, IRD, ICD, CJF, MJF Needs Supporting Life Cycle Processes LC-2 M-40, M-50, E-40, Q-80 Organizational Life Cycle Processes LC-3 M-series, Q-80 External References: ECSS-E-40, ECSS-Q-80, ECSS-M-40, ECSS-M-50 In Triggers (IT) Out Triggers (OT) External Inputs (EI) External Outputs (EO)

  3. Parent: Software Life Cycle Processes Activity: Primary Life Cycle Processes DIAG #51 Perspective: Software Engineering Primary Life Cycle Processes Needs Acquisition Process PLC-1 Negotiated Contract DJF, DDF, TS, RB, IRD, ICD Software Development Process PLC-4 E-40 sec. 5.2, 5.3, 5.4, 5.5 c CUSTOMER Supply Process PLC-2 SUPPLIER/CUSTOMER ITT/RFQ Proposal SUPPLIER Software Operations Engineering Process PLC-3 E-40 sec 5.7 Maintenabilty Requirements Maintenance Plan Software Maintenance and Migration PLC-5 E-40 sec 5.8 Operational Requirements Change Justification File Operational Plan OPERATOR MAINTAINER External References: ECSS-E-40 sec. 5.2, 5.3, 5.4, 5.5, 5.7, 5.8 In Triggers (IT) Out Triggers (OT) External Inputs (EI) External Outputs (EO)

  4. Parent: Primary Life Cycle Processes Activity: Acquisition Process DIAG #54 Perspective: Software Engineering Acquisition Process Initiation EO-01 Negotiated Contract Selected proposal Request for Proposal submission to supplier AP-2 Request for Proposal (or ITT) preparation AP-1 Submitted proposals evaluation and selection AP-3 Contract negotiation AP-4 Needs ITT/RFQ ITT/RFQ EO-02 EI-01 ECSS-M-series CUSTOMER CUSTOMER CUSTOMER SUPPLIER/ CUSTOMER External References: ECSS-M-series In Triggers (IT) Out Triggers (OT) External Inputs (EI) EI-01: Supply Process: Proposal preparation and submission External Outputs (EO) EO-01: Supply Process: Review of the proposal EO-02: Supply Process: Negotiation of the contract

  5. Parent: Primary Life Cycle Processes Activity: Supply Process DIAG #55 Perspective: Software Engineering Supply Process EI-01 EI-02 Negotiated Contract Review of the proposal request SUP-1 Proposal Preparation and submission SUP-2 Negotiation of the contract SUP-3 EO-01 ITT/RFQ ECSS-M-series SUPPLIER SUPPLIER SUPPLIER/ CUSTOMER External References: ECSS-M-series External Inputs (EI) EI-01: Acquisition Process: Proposal preparation and submission EI-02: Acquisition Process: Submitted proposal selection In Triggers (IT) Out Triggers (OT) External Outputs (EO) EO-01: Acquisition Process: Submitted proposal evaluation and selection

  6. Activity: Software Development Process DIAG #11 Parent: Primary Life Cycle Processes Perspective: Software Engineering Software Development Process Technical Specification, Interface Control Document, Design Justification File Requirements Baseline, Interface Requirements Document, design Justification File Design Definition File Software Design Engineering Process SEP-3 E-40 sec 5.5 Customer needs Software/System Requirement Engineering Process SEP-1 E-40 sec 5.2 SUPPLIER Design Justification File Hardware Environment CUSTOMER Interface Management SEP-5 E-40 sec. 5.3.3 Requirements Baseline, Interface Requirements Document, design Justification File Technical Specification, Interface Control Document, Design Justification File Software Requirement Engineering Process SEP-2 E-40 sec 5.4 Interface Management Procedures ECSS-M-40 Requirements CUSTOMER SUPPLIER DJF: Technical budgets status and margin Project Phasing and Planning SEP-4 ECSS-M-30A ECSS-E-40 sec. 5.3.2 Technical Budget and Margin Management SEP-6 E-40 sec 5.3.4 HW Environment ECSS-M-30 Project Requirements Requirements Baseline SUPPLIER SUPPLIER/ CUSTOMER External References: ECSS-E-40 In Triggers (IT) Out Triggers (OT) External Inputs (EI) External Outputs (EO)

  7. Activity: Project Phasing and Planning DIAG #4 Parent: Software Development Process Perspective: Software Engineering Project Phasing and Planning Elements of SW Maintenance Plan Software Life Cycle Definition (milestones, reviews and maintenance planning) SLC-1 E-40: 5.3.2.1 Requirements Baseline at SRR Software Project Development Plan (Life cycle, tools and methods definition) EI1 Software Project Development Plan Review EI2 EI3 ECSS-M-30 PROJECT RQMTS ECSS-E_40 Sec 4.5 System vs Software Requirements SRR SUPPLIER Documentation/Inputs-Output Process definition for each phase and Milestone SLC-3 E-40: 5.3.2.2 Requirements Baseline at SRR Documentation Standards Design Standards Verification and Validation Standards Software Project Development Plan Definition of Software Engineering Standards SLC-2 E-40: 5.3.2.11 SUPPLIER Requirements Baseline SW Project Development Plan Requirements Baseline SW Project Development Plan SUPPLIER External References: ECSS-E-40, ECSS-Q-80 In Triggers (IT) Out Triggers (OT) External Inputs (EI) EI1: SW PA Plan Review EI2: SW PA Procedures & Standards Review EI3: SW PA Life Cycle Review External Outputs (EO)

  8. Parent: Software Development Process Activity: Interface Management DIAG #9 Perspective: Software Management Interface Management Interface Management procedures, Part of configuration management plan ECSS-M-40 Requirements Definition of interface management procedures IM-1 E-40 sec. 5.3.3.1 CUSTOMER SRR Data Package Requirements Baseline External References: ECSS-E-40 sec. 5.3.3.1 In Triggers (IT) Out Triggers (OT) External Inputs (EI) External Outputs (EO)

  9. Activity: Technical Budget & Margin Management DIAG #48 Parent: Software Development Process Perspective: Software Management Technical Budget and Margin Management PDR, CDR, QR, AR Technical budgets and margin philosophy Definition of margin philosophy IM-2 E-40 sec. 5.3.4.1 Budget status IM-3 E-40 5.3.4.2 HW environment DJF: Technical budgets status and margins SUPPLIER CUSTOMER Requirements Baseline: SRR Data Package External References: ECSS-E-40 sec. 5.3.4.1, 5.3.4.2 In Triggers (IT) Out Triggers (OT) External Inputs (EI) External Outputs (EO)

  10. Activity: Software System Requirements Engineering DIAG #12 Perspective: Software Engineering Parent: Software Development Process Software System Requirements Engineering RB: V&V Process requirements SRR System level Rqmts for SW Verification and Validation SE –3 E-40 sec. 5.2.4 Overall System Requirements System Partitioning SE-2 E-40 sec. 5.2.3 System Requirements Analyis SE –1 E-40 sec. 5.2.2 CUSTOMER System level Integration of Software SE –4 E-40 sec. 5.2.5 CUSTOMER CUSTOMER RB (inputs to) IRD (inputs to) RB (inputs to) IRD (inputs to) RB (System partition with definition of items; System Configuration list) IRD (SW/HW interface requirements) DJF (Traceability to system partitioning) Reviewed SRR Data Package RB, IRD DJF CUSTOMER SRR Data Package RB, IRD DJF External References: ECSS-E-40 sec. 5.2.2, 5.2.3, 5.2.4, 5.2.5 In Triggers (IT) Out Triggers (OT) External Inputs (EI) External Outputs (EO)

  11. Parent: Software System Requirement Engineering Process Activity: System Requirements Analysis DIAG #13 Perspective: Software Engineering System Requirements Analysis V&V Rqmts and Design Constraints SYS-3 E-40 sec. 5.2.2.1 Definition of system functionalities and interfaces SYS-1 E-40 sec. 5.2.2.1 RB: Design Constraints V&V requirements - SW Eng. Standards RB: Functions & Performance Rqmts IRD: Interface Rqmts CUSTOMER System Criticality/ Critical Functions Definition SYS-4 E-40 sec. 5.2.2.2 CUSTOMER Overall system reqmts RB:- Safety & Reliability Rqmts - Critical functions identification RB (inputs to) IRD (inputs to) Operations and Maintenance Requirements Definition SYS-2 E-40 sec. 5.2.2.1, 5.2.6.2 CUSTOMER RB: Operations and maintenance requirement CUSTOMER External References: ECSS-E-40 sec. 5.2.2.1, 5.2.2.2, 5.2.6.2 In Triggers (IT) External Inputs (EI) External Outputs (EO) Out Triggers (OT)

  12. Parent: Software System Requirements Engineering Activity: System level integration of Software DIAG #14 Perspective: Software Engineering System level integration of Software IF SW product integrated in system RB: SW Observability requirements IRD: System level interface requirements SW additional requirements definition SLI-1 E-40 sec. 5.2.5.1, 5.2.5.2 CUSTOMER RB: Sys level data interfaces, development constraints Interface Data Medium Definition and Development constraints SLI-2 E-40 sec. 5.2.5.3, 5.2.5.4 System level Requirements RB (inputs to) IRD (inputs to) CUSTOMER Definition of customer products provision to supplier SLI-3 E-40 sec. 5.2.5.5, 5.2.5.6, 5.2.5.7 IRD: System level integration support requirements, product preparation requirements IF SW product integrated in system CUSTOMER External References: ECSS-E-40 sec. 5.2.5.1, 5.2.5.2, 5.2.5.3, 5.2.5.4, 5.2.5.5, 5.2.5.6, 5.2.5.7 In Triggers (IT) Out Triggers (OT) External Inputs (EI) External Outputs (EO)

  13. Activity: SW Requirements Engineering Process DIAG.#15 Parent: Software Development Process Perspective: Software Engineering SW Requirements Engineering Process Preliminary Design Review E-40 sec. 5.4.3.6 Functional and Capability Specification PDR Report Software Requirements Analysis R-1 E-40 sec. 5.4.2 Software Top Level Architectural Design R-2 E-40 sec.5.4.3 PDR Data Package EI1 SRR Docs: IRD RB SUPPLIER SUPPLIER Higher Level Safety Plan Delivered PDR DP Reviewed PDR DP Reliability and System Analysis Q-80 sec. 3.3.2e System Level Functional Analysis SW RAMS Analysis External References: ECSS-E-40 sec.5.4.2, 5.4.3, 5.4.4 In Triggers (IT) Out Triggers (OT) External Inputs (EI) EI1: SW PA Requirements (diag. 26) External Outputs (EO)

  14. Parent: SW Requirements Engineering Process Activity: SW Requirements Analysis DIAG #16 Perspective: Software Engineering SW Requirements Analysis EI1 Preliminary Requirements Establishment RA-1 E-40 sec. 5.4.2.1, 5.4.2.2 EO1 Preliminary Functional and Capability Specification SUPPLIER Functional and Capability Specification External Interfaces identification RA-2 E-40 sec. 5.4.2.1 Verify Software Requirements Documents E-40 sec. 5.4.2.3 Interface Control Document (external interfaces) SRR Docs: IRD RB Delivered Baseline SUPPLIER External References: ECSS-E-40 sec.5.4.2.1, 5.4.2.2, 5.4.2.3 In Triggers (IT) Out Triggers (OT) External Inputs (EI) EI1: SW PA Requirements External Outputs (EO) EO1. Test case spec & procs

  15. Parent: Software Requirement Engineering Process Activity: SW Top-Level Architectural Design DIAG #17 Perspective: Software Engineering SW Top-Level Architectural Design Numerical Error Report RB Preliminary Operation Manual Definition AD-3 E-40 sec. 5.4.3.3 Preliminary Operation manual Architectural Design Definition AD-1 E-40 sec. 5.4.3.1 Functional and Capability Specification EO1 SUPPLIER SW Top level Architecture Preliminary PDR Data Package PDR Data Package SUPPLIER Preliminary (Top Level ) Interface Design AD-2 E-40 sec. 5.4.3.2 Definition of Preliminary Test Requirements and Plan for SW Integration AD-4 E-40 sec. 5.4.3.4 Software Requirements Document Preliminary ICD Preliminary SW Integration test plan IRD SUPPLIER RB Verify Software Design E-40 sec. 5.4.3.5 SUPPLIER External References: ECSS-E-40 sec.5.4.3.1, 5.4.3.2, 5.4.3.3, 5.4.3.4, 5.4.3.5, 5.4.3.6 In Triggers (IT) Out Triggers (OT) External Inputs (EI) External Outputs (EO) 1. Integration SW/SW

  16. Perspective: Software Engineering Parent: Software Development Process Activity: SW Design Engineering Process DIAG #18 SW Design Engineering Process Numerical Error Report Critical Design Review E-40 sec. 5.5.4.5 Inspection Q-80 sec. 3.2.5k Code, Unit tests Documentation Detailed design DP CDR Data Package CDR Report Integration SD-3 E-40 sec. 5.5.4 SW Validation against the TS SD-4 E-40 sec. 5.5.5 Design of Software Items SD-1 E-40 sec. 5.5.2 Coding and Testing SD-2 E-40 sec. 5.5.3 SUPPLIER Software Architectural Design Document SUPPLIER SUPPLIER Delivered CDR Data Package Safety Analysis Q-80 sec. 3.3.2 Design Complexity & Modularity Measurement Q-80 sec. 3.3.2d, 4.18 Reviewed CDR Data Package Critical Module Handling Q-80 sec. 3.3.2 External References: ECSS-E-40 sec.5.5 In Triggers (IT) Out Triggers (OT) External Inputs (EI) External Outputs (EO)

  17. Parent: Software Design Engineering Process Perspective: Software Engineering Activity: Design of SW Items DIAG #19 Design of SW Items Operation Manual Update SD-3 E-40 sec. 5.5.2.3 Operation Manual Update Detailed Design document EI1 Detailed Design Definition SD-1 E-40 sec. 5.5.2.1 SUPPLIER SW Unit Test Plan Detailed design DP SUPPLIER SW Unit Test Planning SD-4 E-40 sec. 5.5.2.4 SUPPLIER Detailed Interface Design (external) SD-2 E-40 sec. 5.5.2.2 Delivered Detailed Design Data Package Software Architectural Design Document Update of Test Requirements and Plan for SW Integration SD-5 E-40 sec. 5.5.2.5 ICD SW Integration Test Plan SUPPLIER Verify Software Design E-40 sec. 5.5.2.6 SUPPLIER External References: ECSS-E-40 sec.5.5.2.1, 5.5.2.2, 5.5.2.3, 5.5.2.4, 5.5.2.5, 5.5.2.6 , ECSS-Q-80 sec. 3.3.2 In Triggers (IT) Out Triggers (OT) External Inputs (EI) 1. Coding and Testing.Unit Test Execution External Outputs (EO)

  18. Parent: Software Design Engineering Process Perspective: Software Engineering Activity: Coding and Testing DIAG #20 Coding and Testing Unit Testing feedback SW Unit Testing SC-3 E-40 sec. 5.5.3.2 modify EO1 EO1 SW Unit Coding SC-1 E-40 sec. 5.5.3.2 SW Unit Test Report SW Code SUPPLIER Code, Unit tests Documentation Review & Check Coverage Q-80 sec. 3.3.4g,q SUPPLIER Operation Manual Update SC-4 E-40 sec. 5.5.3.3 SW Function Integration to Unit SC-6 E-40 sec. 5.5.4 Operation Manual Update SUPPLIER SUPPLIER Unit Test Procedures and Data Definition SC-2 E-40 sec. 5.5.3.1 Delivered Code & Unit tests Detailed Design Update of Test Requirements and Plan for SW Integration SC-5 E-40 sec. 5.5.3.4 SW Integration Test Plan Unit Test Plan Verify Software Code E-40 sec. 5.5.3.5s SUPPLIER SUPPLIER External References: ECSS-E-40 sec. 5.3.3.1, 5.3.3.2, 5.3.3.3, 5.3.3.4, 5.3.3.5, ECSS-Q-80 sec. 3.3.3, 3.3.4d, 3.3.4r, 3.3.4g In Triggers (IT) Out Triggers (OT) External Inputs (EI) External Outputs (EO) 1. Design of SW Item.SW Component Design Document

  19. Parent: Software Design Engineering Process Perspective: Software Engineering Activity: Integration DIAG #21 Integration Operation Manual Update Operation Manual Update IN-2 E-40 sec. 5.5.4.3 SUPPLIER Unit/Unit Integration (former SW/SW) IN-1 E-40: 5.5.4.2 SW Integration Test Report EI2 SUPPLIER Check Coverage Q-80 sec. 3.3.4g SW Code Unit test documentation IT1 Verify Software Integration E-40 sec. 5.5.4.4 Validation test case and procedure definition IN-3 E-40: 5.6.7.1 EI1 SW Validation Testing specification SUPPLIER External References: ECSS-E-40 sec. 5.5.4.1, .5.5.4.2, 5.5.4.3, 5.5.4.4, 5.5.4.5, ECSS-Q-80 sec.3.3.4, 3.3.4d External Inputs (EI) 1. SW Req. Analysis.SW Requirements Document 2. SW Top Level Srch. Design.Architectural Design In Triggers (IT) 1. Qualification.Validation Plan Def. Out Triggers (OT) External Outputs (EO)

  20. Parent:Software Design Engineering Process Activity: SW Validation against TS DIAG #56 Perspective: Verification & Validation Engineering SW Validation against the TS Operation manual (update) Test Readiness Review Board Q-80 sec. 3.3.4t Update the operation manual VI-3 E-40 sec. 5.5.5.4 (cr) Test Readiness Review Q-80 sec. 3.3.4f SW design and test evaluation report SW Validation Testing Spec SUPPLIER Software Validation testing Specification Definition VI-1 E-40 sec. 5.5.5.1 (cr) Evaluate the design, code, test and operation manual VI-4 E-40 sec. 5.5.5.6 (cr) Validation testing against the TS VI-2 E-40 sec. 5.5.5.2 (cr) Validation testing reports, Non conformance reports, Problem reports, Validated Software CDR Data Package SW product, Validation environment (HW/S) SUPPLIER Validation Plan, Validation Reqs SUPPLIER SUPPLIER Update and prepare the deliverables SW product VI-5 E-40 sec. 5.5.5.6 (cr) Check Coverage Q-80-3.3.gt Verify test E-40 sec. 5.6.6.6 SUPPLIER SW on delivery media, SW release doc., Baseline deliverables Analysis and Inspection VI-6 E-40 sec. 5.5.5.3 (cr) SW Design/Code Analysis and Inspection reports SW Specification SUPPLIER External References: ECSS-E-40 sec. 5.5.xx , ECSS-Q-80 sec. 3.3.4q, 3.3.4g, 3.3.4r In Triggers (IT) Out Triggers (OT) External Inputs (EI) External Outputs (EO)

  21. Perspective: Software Engineering Parent: Primary Life Cycle Processes Activity: Software Operations Engineering DIAG #22 Software Operations Engineering Operations Manual Problem Report Modification Request RB [Operations and Maintenance Requirements] SW ready for operations ORR EO-01 EI-01 System Operation OP-3 E-40 sec. 5.7.5 Operational Plan and Standards Definition OP-1 E-40 sec. 5.7.3.1, 5.7.3.25.7.3.3 Operational Testing OP-2 E-40 sec. 5.7.4 Operational Plan Software Operations OP-0 E-40 sec. 5.2.6.2 SW Operator Identification OP-00 E-40 sec. 5.2.6.1 EI-02 Problem Report Modification Request EO-01 ECSS-M-40 ECSS-M-10 OPERATOR CUSTOMER CUSTOMER OPERATOR OPERATOR Work-around Solution Analysis of User’s Request OP-5 E-40 sec. 5.7.6.2, 5.7.6.3 User Assistance OP-4 E-40 sec. 5.7.6.1 EO-02 EI-03 EO-01 Problem Report Modification Request OPERATOR OPERATOR Archive of User’s Request External References: ECSS-E-40 sec.5.7.3, 5.7.4, 5.7.5, 5.7.6.1, 5.7.6.2, 5.7.6.3, 5.2.6.2, 5.2.6.1ECSS-M-40 In Triggers (IT) Out Triggers (OT) External Inputs (EI) EI-01: Software from SW Maintenance Process EI02: Software from Validation Process EI-03: User Request External Outputs (EO) EO-01: Problem Report /Modification Request to Software Maintenance Process EO-02: Workaroud to User

  22. Activity: SW Maintenance and Migration DIAG #23 Parent: Primary Life Cycle Processes Perspective: Software Engineering SW Maintenance and Migration Start of Maintenance SW Software Maintenance Implementation MM-1 E-40 sec. 5.8.2 Modified SW CJF -Baseline for changes RB, ECSS-M-40 MAINTAINER Modified SW environment Software Migration MM-2 E-40 sec. 5.8.6 Sw/Environment MJF Software Retirement Decision MAINTAINER Software Retirement MM-3 E-40 sec. 5.8.7 SW MAINTAINER External References: ECSS-E-40 sec.5.8.2, 5.8.3, 5.8.4, 5.8.5, 5.8.6, 5.8.7, ECSS-M-30, ECSS-M-40 In Triggers (IT) Out Triggers (OT) External Inputs (EI) EI-01; Problem Report,Modification Request from Maintenance Process External Outputs (EO) EO-01: Modified SW to Operations Process

  23. Activity: Software MaintenanceImplementation DIAG #24 Parent: Software Maintenance and Migration Perspective: Software Engineering Software Maintenance Implementation Customer Approval E-40 sec. 5.8.3.5 Maintenance Review E-40 sec. 5.8.5 Start of Maintenance Maintenance Planning, Problem Recording Procedures Definition MA-1 E-40 sec. 5.8.2.2, 5.8.2.3 EO-01 ECSS-M-40 Modified SW EI-01 Analysis of affected product (Sw &documents) MA-3 Modification Implementation And regression Testing MA-4 E-40 sec. 5.8.4 Problem or Modification Analysis MA-2 E-40 sec. 5.8.3.1 Change Justification File -Baseline for changes RB [Operations and Maintenance Requirements] Maintenance Plan -Plans and Procedures -Problem Reporting and handling MAINTAINER Change Justification File -Modification identification MAINTAINER MAINTAINER Change Justification File -Problem Analysis Report MAINTAINER External References: ECSS-E-40 sec. 5.8.2, 5.8.3.1, 5.8.3.2, 5.8.3.3, 5.8.3.4, 5.8.4.1, 5.8.4.2, ECSS-M-30, ECSS-M-40 In Triggers (IT) Out Triggers (OT) External Inputs (EI) EI-01; Problem Report, Modification Request from Software Operations Engineering Process External Outputs (EO) EO-01: Modified SW to Operations Process

  24. Activity: Software Migration DIAG #25 Parent: Software Maintenance and Migration Perspective: Software Engineering Software Migration Migration Justification File Preparation of notification documentation for the users MI-3 E-40 sec. 5.8.6.3 Post Operation Review E-40 sec. 5.8.6.6 Migration Plan Definition of migration plan MI-1 E-40 sec. 5.8.6.1, 5.8.6.2 MAINTAINER Modified SW environment E-40 5.8.6.1 MAINTAINER Notification to user MI-5 E-40 sec. 5.8.6.5 Support of new & old environment MI-6 E-40 sec. 5.8.6.4 Implementation of Migration MI-2 E-40 sec. 5.8.6.5 MAINTAINER MAINTAINER Archive of old environment MI-4 E-40 sec. 5.8.6.7 MAINTAINER Review Results availability to user’s MAINTAINER Archives of old environment External References: ECSS-E-40 sec. 5.8.6.2, 5.8.6.3, 5.8.6.4, 5.8.6.5, 5.8.6.7, ECSS-M-40 In Triggers (IT) Out Triggers (OT) External Inputs (EI) External Outputs (EO)

  25. Parent: Software Life Cycle Processes Activity: Supporting Life Cycle Processes DIAG #52 Perspective: ALL Supporting Life Cycle Processes ECSS-M-40 Requirements Software Configuration Management Process SLC-5 M-40A SW Development plan SW Documentation Process SLC-1 M-50 Available Documentation Software Configuration Management Plan M-50 reqs SW docs & standards SW Product Assurance SLC-4 Q-80 SUPPLIER CUSTOMER SW PA Reports RB, TS, Interface Requirements Traceability matrix, Verification/Validation reports Verification and Validation Processes SLC-2 E-40 sec. 5.6.2, 5.6.3 Technical Review Reports Joint Review Process SLC-6 E-40 sec. 5.6.8 Verification/Validation plan Project Plans SUPPLIER SUPPLIER CUSTOMER Audit Plan and Report Problem Resolution Process SLC-3 E-40 sec. 5.6.6.7, 5.6.7.6 Q-80 sec. 2.3.5, 2.3.6 Audit Process SLC-7 E-40 sec. 5.6.7.7 External References: In Triggers (IT) Out Triggers (OT) External Inputs (EI) External Outputs (EO)

  26. Parent: Supporting Life Cycle Processes Activity: SW Documentation Process DIAG #57 Perspective: ALL SW Documentation Process SW Development plan Definition of documentation management Process for the project DOC-1 M-50 sec. 6 Implementation plan for Documentation Management Documentation storage/assessing DOC-2 Available Documentation M-50 reqs SUPPLIER/ CUSTOMER SUPPLIER/ CUSTOMER Accessible/stored Documentation External References: ECSS-M-50 In Triggers (IT) Out Triggers (OT) External Inputs (EI) External Outputs (EO)

  27. Perspective: Software Configuration Management Parent: Supporting Life Cycle Processes Activity: Software C.M. Process DIAG #10 Software C.M. Process Product Assurance of CM Procedures Product Assurance of CI Identification Identified SW Item and relevant documentation SW Configuration Management Procedures definition SCM-1 M-40 sec. 5.5 SW Configuration Item identification SCM-2 M-40 sec. 5.1 SW Configuration Management Plan M-40 reqs SUPPLIER SUPPLIER Product Assurance of SW Configuration Control Product Assurance of SW Configuration accounting SW Configuration Status accounting SCM-4 M-40 sec.5.3 SW Configuration Control SCM-3 M-40 sec. 5.2 Developed SW SW Configuration File SW Item evolution, change proposal, deviation/waiver SUPPLIER SUPPLIER External References: ECSS-Q-80 sec. 2.3.6a, 2.3.5, ECSS-M-40 sec. 5.5 In Triggers (IT) Out Triggers (OT) External Inputs (EI) External Outputs (EO)

  28. Perspective: Software Configuration Management Activity: Software Configuration Control DIAG #58 Parent: Software C.M. Process Software Configuration Control SW in the archive library SW in the Master library Archive SW SCC-3 SW under Configuration Control Development library: SW Item Configuration control of the SW SCC-1 Insertion of the SW in the Master Library SCC-2 SUPPLIER SW on media SCC-4 SUPPLIER SUPPLIER E.g. tape SUPPLIER Documents under Configuration Control Documentation library: SW documents Documents in the Master library Configuration Control of the Documentation SCC-5 Insertion of the documents in the Master Library SCC-6 SUPPLIER SUPPLIER External References: In Triggers (IT) Out Triggers (OT) External Inputs (EI) External Outputs (EO)

  29. Parent: Supporting Life Cycle Processeses Activity: Joint Review Process DIAG #5 Perspective: Software Management Joint Review Process Software Support to Joint Technical Reviews REV-1 E-40 sec. 5.6.8.1 Project Plan (ECSS-M-30) Milestone Review Reports CUSTOMER SUPPLIER Software Technical Reviews REV-2 E-40 sec. 5.6.8.2 Software Development Plan Technical Reviews Report CUSTOMER SUPPLIER External References: In Triggers (IT) Out Triggers (OT) External Inputs (EI) External Outputs (EO)

  30. Activity: SW Support to Joint Technical Reviews DIAG #6 Parent: Joint Review Process Perspective: Software Management Software Support to Joint Technical Reviews Customer Approval of DDF; DJF; Operations Manual; design of system interfaces Customer Approval of RB CDR: Review of DDF; Operations Manual; DJF CDR-1 E-40 sec. 5.3.2.7; 5.5.4.5 SRR: Review of the Requirements Baseline SRR-1 E-40 sec. 5.3.2.4 RB; TS;ICD; DDF;DJF RB CDR Milestone Review Reports SRR Milestone Review Reports Customer Approval of Qualified state CUSTOMER SUPPLIER QR: Review of Summary of tests reports and operation manual QR-1 E-40 sec. 5.3.2.9; 5.6.2.1 CUSTOMER SUPPLIER Customer Approval of TS and Top Level Archtecture RB;TS;ICD; DDF;DJF QR Milestone Review Report PDR: Review of TS and Software Top Level Architecture PDR-1 E-40 sec. 5.3.2.6; 5.4.3.6 AR: Acceptance of software wrt operational environment AR-1 E-40 sec. 5.3.2.10; 5.6.2.2 CUSTOMER SUPPLIER Customer Approval of Accepted state RB; TS;ICD; DDF;DJF PDR Milestone Review Report RB;TS;ICD; DDF;DJF CUSTOMER SUPPLIER AR Milestone Review Report CUSTOMER SUPPLIER External References: In Triggers (IT) Out Triggers (OT) External Inputs (EI) External Outputs (EO)

  31. Parent: Software Support to Joint Technical Reviews Activity: Review Procedure (*) DIAG #7 Perspective: Software Engineering Review Procedure SW Development plan Proposal RIDs Disposition Rids Status List Document Review RP-1 ECSS-M-40:4.1 RIDs Evaluation and Disposition RP-2 RIDs Discussion (Review) RP-3 RIDs List of Actions and Closeout Dispositions CUSTOMER SUPPLIER CUSTOMER SUPPLIER Open and Major RIDs Major Problem Pre-Board RP-4 Board RP-5 ECSS-M-30: 4.1 Customer Approval/ Proceed to Next Phase, Technical Review Report CUSTOMER SUPPLIER CUSTOMER SUPPLIER (*) This Process is applicable to each Joint Technical Reviews External References: ECSS-M-40, M-30 In Triggers (IT) Out Triggers (OT) External Inputs (EI) External Outputs (EO)

  32. Parent: Joint Review Process Activity: SW Technical Reviews (*) DIAG #47 Perspective: Software Engineering SW Technical Reviews Proposal RIDs Disposition Rids Status List Software Documentation Review TR-1 ECSS-M-40:4.1 RIDs Evaluation and Disposition TR-2 RIDs Discussion (Review) TR-3 RIDs List of Actions and Closeout Dispositions SW Review Data Package CUSTOMER SUPPLIER CUSTOMER SUPPLIER Open and Major RIDs Major Problem Software Review Pre-Board TR-4 Software Review Board TR-5 ECSS-M-30: 4.1 Customer Approval/ & Authorization to Proceed with the Next Phase CUSTOMER SUPPLIER CUSTOMER SUPPLIER (*) This Process is applicable to each Software Technical Reviews External References: ECSS-E-40 In Triggers (IT) Out Triggers (OT) External Inputs (EI) External Outputs (EO)

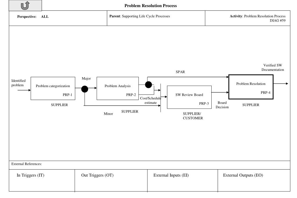
  33. Parent: Supporting Life Cycle Processes Activity: Problem Resolution Process DIAG #59 Perspective: ALL Problem Resolution Process Verified SW Documentation SPAR Major Problem Resolution PRP-4 Identified problem Problem categorization PRP-1 Problem Analysis PRP-2 SW Review Board PRP-3 Cost/Schedule estimate Board Decision SUPPLIER SUPPLIER SUPPLIER Minor SUPPLIER/ CUSTOMER External References: In Triggers (IT) Out Triggers (OT) External Inputs (EI) External Outputs (EO)

  34. Parent: Problem Resolution Process Activity: Problem Resolution DIAG #60 Perspective: ALL Problem Resolution Modified SW Documentation Board Decision SW Modification PR-2 Regression Testing PR-3 Documentation Update PR-4 SPAR SUPPLIER SUPPLIER SUPPLIER Modified SW Verified SW External References: In Triggers (IT) Out Triggers (OT) External Inputs (EI) External Outputs (EO)

  35. Perspective: Verification and Validation Engineering Parent: Supporting Life Cycle Processes Activity: Verification and Validation Processes DIAG #35 Verification and Validation Processes Verification Process Implementation VP-1 E-40 sec. 5.4.4.1, 5.6.4 Requirement Baseline, Technical Specification, Interface Requirements Verification plan Non-Conformance, Problem Reports SUPPLIER Verification Process VP-2 E-40 sec. 5.4.4.1, 5.6.6 Technical Specification, Design Definition File, Design Justification File Traceability matrix, Verification reports SUPPLIER Validation Process Implementation VLP-1 E-40 sec. 5.6.5, Q-80 sec. 3.3.4 Validation plan at PDR; TS Requirement Baseline, Technical Specification, Interface Requirements Software Validation Test Specification Operation Manual Validation Test Reports Validation Process VLP-2 E-40 sec. 5.6.7, Q-80 sec. 3.3.4 SUPPLIER Non Conformance, Problem Reports Technical Specification, Design Definition File, Design Justification File Software on Delivery Media, Software Release Documentation External References: ECSS-E-40 sec. 5.4.4.1, 5.6.4, 5.6.5, 5.6.6.,5.6.7, Q-80 sec. 3.2.5p, 3.2.5a, 3.2.5d, 3.2.1 In Triggers (IT) Out Triggers (OT) External Inputs (EI) External Outputs (EO)

  36. Perspective: Verification & Validation Engineering Activity: Verification Process Implementation DIAG #36 Parent: Verification and Validation Processes Verification Process Implementation Determine the verification effort for the project VPP-1 E-40 sec. 5.6.4.1 Verification plan: criticality and effort Requirement Baseline, Technical Specification, Interface Requirements SUPPLIER Verification plan: methods & tools Verification plan Determine the activities/SW products that require verification VPP-4 E-40 sec. 5.6.4.4 Develop and document a verification plan VPP-5 E-40 sec. 5.6.4.5 Establish the verification Process VPP-2 E-40 sec. 5.6.4.2 SUPPLIER SUPPLIER SUPPLIER Select the organization responsible for conducting the verification VPP-3 E-40 sec. 5.6.4.3 Verification plan: project organization Verification plan at PDR, Technical Specification SUPPLIER External References: ECSS-E-40 sec.5.6.4, ECSS-Q-80 sec 3.2.5p, 3.2.5a In Triggers (IT) Out Triggers (OT) External Inputs (EI) External Outputs (EO)

  37. Perspective: Verification and Validation Engineering Activity: Verification Process DIAG #37 Parent: Verification and Validation Processes Verification Process Traceability matrix, Requirements Verification report Preliminary detailed Design Data Package Traceability matrix, Design Verification report Preliminary functional & capability spec Verify SW Requirements VPI-1 E-40 sec. 5.6.6.1 Verify SW Design VPI-2 E-40 sec. 5.6.6.2 Preliminary PDR Data Package Verification plan Traceability matrix, Top-level architectural Design Verification report Verification plan SUPPLIER SUPPLIER Delivered code Project documentation Traceability matrix, Code Verification report Verify Code VPI-3 E-40 sec. 5.6.6.3 Verify SW Documentation VPI-5 E-40 sec. 5.6.6.5 SW integration Report Verification plan Verify SW Integration VPI-4 E-40 sec. 5.6.64 Verification plan Test specification evaluation SUPPLIER SUPPLIER SW Integration Verification report Verification plan SUPPLIER Problems and non-conformances Handling VPI-6 E-40 sec. 5.6.6.7 Evaluate Test Spec VPI-7 E-40 sec. 5.6.6.6 Problem and non-conformance Reports Test Spec. Evaluation Verification plan: criticality and effort SUPPLIER SUPPLIER External References: ECSS-E-40 sec. 5.6.6, ECSS-Q-80 sec. 3.2.5d, 3.2.1 In Triggers (IT) Out Triggers (OT) External Inputs (EI) External Outputs (EO)

  38. v Perspective: Verification and Validation Engineering Parent: Verification Process Implementation Activity: Verify SW Requirements DIAG #38 Verify SW Requirements Traceability matrix, Requirements Verification report Verify Consistency, Feasibility and Traceability to system Requirements VR-1 E-40 sec. 5.6.6.1a Traceability matrix, Requirements Verification reports Preliminary functional & capability spec, Verification plan SUPPLIER Verify SW Requirements in terms of safety, security and criticality VR-2 E-40 sec. 5.6.6.1b Requirements Verification report SUPPLIER External References: ECSS-E-40 sec. 5.6.6.1 In Triggers (IT) Out Triggers (OT) External Inputs (EI) External Outputs (EO)

  39. Perspective: Verification and Validation Engineering Parent: Verification Process Implementation Activity: Verify SW Design DAG #39 Verify SW Design Verify the Design to Requirements traceability VD-1 E-40 sec. 5.6.6.2a Traceability Matrix SUPPLIER Design Verification report, non conformance report Verify the RAMS and budget Requirements VD-2 E-40 sec. 5.6.6.2b Traceability Matrix, Design Verification report, non conformance report Verification plan, Design Data Package Design Verification report, non conformance report SUPPLIER Verify the Design derivability from the Requirements VD-3 E-40 5.6.6.2c SUPPLIER Verify the SW Design in terms of safety, security and criticality VD-4 E-40 5.6.6.2d Design Verification report, non conformance report SUPPLIER External References: ECSS-E-40 sec. 5.6.6.2, ECSS-Q-80 sec. 3.2.5n, 3.2.5d, 3.2.5g In Triggers (IT) Out Triggers (OT) External Inputs (EI) External Outputs (EO)

  40. Perspective: Verification and Validation Engineering Parent: Verification Process Implementation Activity: Verify Code DIAG #40 Verify Code Verify the code traceability to design and requirements VC-1 E-40 sec. 5.6.6.3a Traceability Matrix SUPPLIER Verify if RAMS requirements and budgets have been correctly implemented VC-2 E-40 sec. 5.6.6.3b Code Verification report Traceability matrix, Code Verification report, Problem & non conformance report Delivered code, SUPPLIER Verification plan Verify if the code can be derived from design and requirements VC-3 E-40 sec. 5.6.6.3b Code Verification report SUPPLIER Verify if the code implement criticality VC-4 E-40 sec. 5.6.6.3b Code Verification report SUPPLIER External References: ECSS-E-40 sec. 5.6.6.3, ECSS-Q-80 3.2.5.n, 3.2.5d, 3.2.5g In Triggers (IT) Out Triggers (OT) External Inputs (EI) External Outputs (EO)

  41. Perspective: Verification and Validation Engineering Parent: Verification Process Implementation Activity: Verify SW Integration DIAG #41 Verify SW Integration Integration Verification report SW Integration Report, Verification plan Verify if the SW units have been completely and correctly integrated into the SW item VI-1 E-40 sec. 5.6.6.4 SUPPLIER External References: ECSS-E-40 sec. 5.6.6.4 In Triggers (IT) Out Triggers (OT) External Inputs (EI) External Outputs (EO)

  42. Perspective: Verification & Validation Engineering Parent: Verification and Validation Processes Activity: Validation Process Implementation DIAG #43 Validation Process Implementation Determine the validation effort for the project PLAN-1 E-40 sec. 5.6.5.1 Validation plan: effort & independence SUPPLIER Validation plan: organization Validation plan: methods & tools Validation plan Establish the validation Process PLAN-2 E-40 sec. 5.6.5.2 Develop and document a validation plan PLAN-4 E-40 sec. 5.6.5.4 SUPPLIER SUPPLIER Select the organization responsible for conducting the validation PLAN-3 E-40 sec. 5.6.5.3 Independent Validation plan: project organization Validation Plan, TS; at PDR SUPPLIER External References: ECSS-E-40 sec. 5.6.5, ECSS-Q-80 sec.3.3.4ab In Triggers (IT) Out Triggers (OT) External Inputs (EI) External Outputs (EO)

  43. Activity: Validation Process DIAG #44 Perspective: Verification & Validation Engineering Parent: Verification and Validation Processes Validation Process Operation manual (update) QR E-40 5-6-1 Test Readiness Review Board Q-80 sec. 3.3.4t Update the operation manual VI-3 [E-40 sec. 5.6.7.3] Test Readiness Review Q-80 sec. 3.3.4f SW Validation Testing Spec SUPPLIER Evaluate the design, code, test and operation manual VI-4 [E-40 sec. 5.6.74] Software Validation testing Specification Definition VI-1 [E-40 sec. 5.6.7.1] Validation Testing against the RB VI-2 [E-40 sec. 5.6.7.2] Validation testing reports, Non conformance reports, Problem reports, Validated Software SW design and test evaluation report Validation Plan, Validation Reqs SW product, Validation environment (HW/SW) SUPPLIER SUPPLIER SUPPLIER Update and prepare the deliverables SW product VI-5 [E-40 sec. 5.6.7.5] SW on delivery media, SW release documentation, Baseline deliverables SW product Acceptance Testing Documentation Support Customer Acceptance VLP-3 [E-40 sec. 5.6.7.7, Q-80 sec. 3.3.4] Check Coverage Q-80 sec. 3.3.gt Customer Requirements SUPPLIER Training Material External References: ECSS-E-40 sec. 5.6.7, ECSS-Q-80 sec. 3.3.4q, 3.3.4g, 3.3.4r In Triggers (IT) Out Triggers (OT) External Inputs (EI) External Outputs (EO)

  44. Parent: Validation Process Activity: Support Customer Acceptance DIAG #45 Perspective: Verification and Validation Support Customer Acceptance Support Customer’s Acceptance Testing AS-1 E-40 sec. 5.6.7.7, Q-80 sec. 3.3.5 Support Customer’s Acceptance Review AS-2 E-40 sec. 5.6.7.7 Customer Requirements SUPPLIER Acceptance Testing Documentation SUPPLIER Provide training and support AS-3 E-40 sec. 5.6.7.8 Training Material TS SUPPLIER External References: ECSS-E-40 sec. 5.6.7.7, 5.6.7.8, ECSS-Q-80 sec. 3.3.5, ECSS-Q-20 sec. 4.6.4.4, 8.3, 2.6 In Triggers (IT) Out Triggers (OT) External Inputs (EI) External Outputs (EO)

  45. Parent: Support Customer Acceptance Activity: Support Customer’s Acceptance Testing DIAG #46 Perspective: Verification and Validation Support Customer’s Acceptance Testing Customer’s approval Planning of SW Installation SWAC-1 Q-80 sec. 3.3.5a Installation Plan Customer Reqs SUPPLIER SW ADP SW code SW configuration file Customer’s approval Acceptance test Report Acceptance Test Plan Definition SWAC-2 Q-80 sec. 3.3.5b Preparation of Acceptance Material SWAC-3 Q-80 sec. 3.3.5c Acceptance Test Execution SWAC-4 Q-80 sec. 3.3.5d/e/f/g Acceptance test Plan SUPPLIER SUPPLIER SUPPLIER/ CUSTOMER External References: Q-80 sec. 3.3.5 In Triggers (IT) Out Triggers (OT) External Inputs (EI) External Outputs (EO)

  46. Perspective: Software Product Assurance Parent: Supporting Life Cycle Processes Activity: Audit DIAG #31 Audit Audit Planning PA-20 Q-80 sec.2.3.3 , Q-20 sec 2.6.2. Audit Plan SUPPLIER Audit Conduction PA-21 Q-80 sec.2.3.3, Q-20 sec. 2.6.1 Audit Report CUSTOMER SUPPLIER External References: ECSS-Q-20: 2.6, ECSS-Q-30: 2.5, ECSS-Q-80:2.3.3 In Triggers (IT) Out Triggers (OT) External Inputs (EI) External Outputs (EO)

  47. Parent: Supporting Life Cycle Processes Activity: Software P.A. Process DIAG #26 Perspective: Software P.A. Software P.A. Process Software P.A. System Process PA-2 Software P.A. Planning PA-1 Software Criticality Analysis SRR Documentation Software P.A. Plan Software PA Requirements System Level Functional Analysis, List of Critical Functions Input to Contract SUPPLIER SUPPLIER Input to Software P.A. Report Software PA Report Software Documentation Software P.A. Monitoring and Reporting PA-3 Project Plans Review PA-4 Project Plans Audit plan/report Failure/Problem, Non Conformance Alert OT1 Non Conformance Report SUPPLIER Input to Software P.A. Report SUPPLIER CUSTOMER ALERT ORIGINATOR Software Procedures and Standards Review PA-5 Software Life Cycle Definition OT2 Input to Software P.A. Report Buy Decision SUPPLIER Software Life Cycle Review PA-6 Receiving Inspection Report Purchased Software Process PA-7 OT3 System Requirements Procedures and Standards Software Component List SUPPLIER SUPPLIER External References: In Triggers (IT) Out Triggers (OT) OT1: trigger to Model # 7 (5.3.2) OT2: trigger to Model # 7(5.3.2) OT3: trigger to Model # 7 (5.3.2) External Inputs (EI) External Outputs (EO)

  48. Parent: SW P.A. Process Activity: Software P.A. Planning DIAG #27 Perspective: Software Product Assurance Software P.A. Planning Higher Level P.A. Plan Software P.A. Plan or Compliance Matrix to the Upper Level Software P.A. Plan (*) Contract (3.2.1) Definition & Planning of Software P.A. activities PA-8 SUPPLIER Customer Approval of Software Product Assurance Plan Documents SRR Docs: IRD RB Customer SW P.A. Requirements System Reliability, Safety, Maintainability and Quality Requirements SW P.A. Plan Baseline (*) To be updated before each milestone (2.3.1c) External References: ECSS-Q-80 sec. 2.3.1, 2.3.5c, 2.5.2b, 3.2.2I, 3.2.4c, 3.3.4c, 3.3.4i In Triggers (IT) Out Triggers (OT) External Inputs (EI) External Outputs (EO)

  49. Activity: Software P.A System Process DIAG #28 Parent: Software P.A. Process Perspective: Software Product Assurance Software P.A System Process SRR System Level Functional Analysis List of Critical Functions (FTA, FMECA, HSIA) EO-2 Identification of Measures for Handling Critical Modules PA-10 Q-80 sec. 3.2.2h Definition of Software Criticality Analysis PA-9 Q-80 sec. 3.2.2f Design and Test Quality Requirements EO-1 Software Criticality Analysis RB SUPPLIER SUPPLIER Verification of SW P.A. Requirements for Critical SW PA-11 Q-80 sec. 2.2 Input to SW P.A. Report Software P.A. Plan Contract Process PA-12 Q-80 sec. 3.2.2i SUPPLIER System Requirements P.A. Input to Contract CUSTOMER External References: ECSS-E-40 sec. 6.2.1.1, ECSS-Q-80 sec. 3.2.2.f, 3.2.2h, 3.2.2i In Triggers (IT) Out Triggers (OT) External Inputs (EI) External Outputs (EO) EO1: SW PA requirements (input to Software Specification) EO-2: Design and Test Quality Reqs

  50. Activity: Software P.A. Monitoring and Reporting Activities DIAG #29 Parent: Software P.A. Process Perspective: Software Product Assurance Software P.A. Monitoring and Reporting Activities Input to Software P.A. Plan Software Documentation Supplier Monitoring and Control PA-16 Alert Process PA-17 Failure/Problem Input to Software P.A. Report Alert CUSTOMER Inspection PA-28 SW Code Procedures and Standards Input to SPA Report Project Plans Start Validation and Acceptance testing Software Documentation Software P.A. Assurance& Reporting Activities PA-13 Software P.A. Report Assurance of activities during validation and acceptance test PA-27 Test Documentation SUPPLIER Test Certification External References: ECSS-Q-80 In Triggers (IT) IT1: trigger from Model # IT2: trigger from Model # Out Triggers (OT) External Inputs (EI) External Outputs (EO)

More Related